因公司合并(分立)申请设立、变更或注销登记
山东省济宁市兖州区龙桥街道扬州南路2号为民服务中心三楼外资企业登记窗口G46
基本编码:JN370882GS370131001109
实施编码:11370812MB281530XF4370131001109
事项版本:17
基本信息
| 承办机构 | 山东省济宁市兖州区市场监督管理局注册科 | 实施主体性质 | 法定机关 |
| 实施主体 | 济宁市兖州区市场监督管理局 | 服务对象 | 自然人,企业法人,其他组织 |
| 权力来源 | 上级授权 | 权限划分 | 无 |
| 事项类型 | 行政许可 | 是否网办 | 是 |
| 网办深度 | 全程网办 | 运行系统 | 无 |
| 办理时间 | 办理时间:工作日(节假日除外): 夏季(5.1-9.30)上午08:30-12:00 下午 14:00-18:00; 冬季(10.1-次年4.30) 上午 08:30-12:00, 下午 13:30-17:30 | 办理地点 | 山东省济宁市兖州区龙桥街道扬州南路2号为民服务中心三楼外资企业登记窗口G46 |
| 是否公示 | 是 | 到办事现场次数 | 0 |
| 办理结果类型 | 证照 | 办理方式 | 自办件 |
| 送达方式 | 窗口领取、邮寄送达 | 是否存在中介服务 | 否 |
| 联办机构 | 无 | 行使层级 | 县级 |
| 法定办结时限 |
6个工作日
法定办结时限说明
从收到申请单开始计算
|
承诺办结时限 |
1个工作日
承诺办结时限说明
无
|
| 办理结果名称 | 发放营业执照 | 数量限制 | 无 |
| 结果样本 | 无 | ||
| 是否收费 | 否 | 办件类型 | 无 |
| 通办范围 | 全国 | 办理形式 | 无 |
| 是否支持网上支付 | 否 | 是否支持物流快递 | 是 |
| 是否支持预约办理 | 否 | 是否进驻政务大厅 | 是 |
| 咨询方式 |
窗口地址:山东省济宁市兖州区龙桥街道扬州南路2号为民服务中心三楼外资企业登记窗口G46 电话:0537-3120887 |
||
| 监督投诉方式 | 电话投诉 | ||
设定依据
| 依据名称 | 中华人民共和国市场主体登记管理条例 |
| 制定机关 | 国务院 |
| 发布令号(文号) | 国务院令第746号 |
| 具体规定内容 | 第三条 市场主体应当依照本条例办理登记。未经登记,不得以市场主体名义从事经营活动。法律、行政法规规定无需办理登记的除外。 市场主体登记包括设立登记、变更登记和注销登记。 |
| 原文下载地址 | 暂无数据 |
收费标准及依据
本事项无收费标准及依据
受理条件
材料齐全,符合法定形式。
申报材料
| 材料名称 | 材料类型 | 纸质材料份数 | 材料形式 | 纸质材料规格 | 来源渠道 | 来源渠道说明 | 材料必要性 | 示例样表 | 空白样表 |
| 《公司登记(备案)申请书》 | 原件 | 1 | 纸质或电子 | 无 | 申请人自备 | 申请人自备 | 是 | 无 | 无 |
| 决议或决定 | 原件 | 1 | 纸质或电子 | 无 | 申请人自备 | 申请人自备 | 是 | 无 | 无 |
| 通过报纸公告的提交刊登公告的报纸样张。合并(分立)公告应当包括:合并(分立)各方的名称,合并(分立)形式,合并(分立)前后各公司的注册资本 | 原件 | 1 | 纸质或电子 | 无 | 其他 | 报纸 | 是 | 无 | 无 |
| 合并/分立方的营业执照复印件 | 原件 | 1 | 纸质或电子 | 无 | 申请人自备 | 申请人自备 | 是 | 无 | 无 |
| 债务清偿或者债务担保情况的说明 | 原件 | 1 | 纸质或电子 | 无 | 申请人自备 | 债务清偿或者债务担保情况的说明 | 是 | 无 | 无 |
| .法律、行政法规和国务院决定规定必须报经批准的或因合并(分立)新设公司的经营范围、存续公司新增的经营范围中,涉及法律法规规定应当在登记前报经有关部门审批的,提交有关的批准文件或者许可证件复印件 | 复印件 | 1 | 纸质或电子 | 无 | 政府部门核发 | 政府部门核发 | 否 | 无 | 无 |
| 因合并(分立)办理公司设立、变更登记的,提交载明合并(分立)情况的解散公司的注销证明或载明分立情况的存续公司的变更证明 | 原件 | 1 | 纸质或电子 | 无 | 申请人自备 | 申请人自备 | 是 | 无 | 无 |
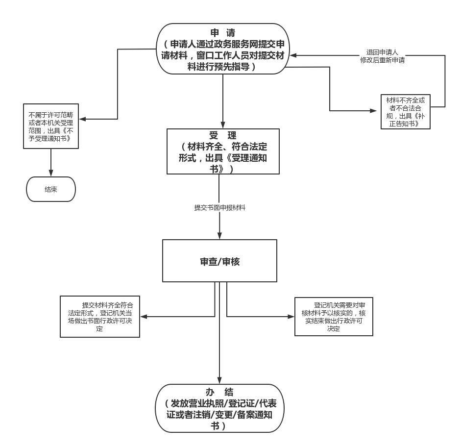
办理流程
| 环节名称 | 办理内容 | 办理时限 | 办理结果 |
| 受理 | 审查申请人提交的材料是否齐全、是否符合法定形式 | 当场 | 受理或不予受理 |
| 审核 | 对受理材料和受理人员的受理意见进行审查 | 当场 | 核准或不予核准 |
| 发证 | 发放营业执照 | 当场 | 发放营业执照 |
流程图
行使内容
无
法律救济
| 行政复议 | 部门 | 地址 | 电话 |
| 济宁市兖州区司法局 | 济宁市兖州区九州方圆A座 | 0537-3413076 |
| 行政诉讼 | 部门 | 地址 | 电话 |
| 济宁市兖州区人民法院 | 济宁市兖州区九州中路95号 | 0537-3431049 |
中介服务
本事项无中介服务
常见问题
| 问题 | 是否收费 |
| 解答 | 否 |
咨询方式
-
窗口地址:山东省济宁市兖州区龙桥街道扬州南路2号为民服务中心三楼外资企业登记窗口G46
电话:0537-3120887
从收到申请单开始计算